Bose Files Complaint to Keep Monsters Out of Your Ears!
FRAMINGHAM, MA - Upon a complaint from Bose Corporation, (Framingham, MA), regarding "ear bud" type earphone devices, the U.S. International Trade Commission, (USITC), has instituted a "Section 337" investigation of Monster, Inc. (Brisbane, CA USA -- a company best known as the maker of Monster® Cable), Monster, LLC (Las Vegas, NV USA), and Monster Technology International, Ltd., (Ennis, County Clare, Ireland).
According to the USITC websites, a Section 337 investigation "most often involve claims regarding intellectual property rights, including allegations of patent infringement and trademark infringement by imported goods. Both utility and design patents, as well as registered and common law trademarks, may be asserted in these investigations."
This particular investigation involves "Earpiece Devices Having Positioning and Retaining Structure and Components Thereof", more specifically -- in-ear headphones that allegedly infringe on Bose's U.S. Patent No. 8,311,253, a patent for "Earpiece positioning and retaining" which describes "an earpiece with an electronics module and a positioning and retaining structure".
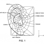
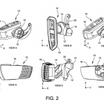
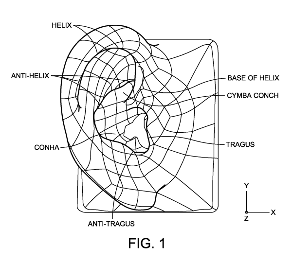
The images below from the "253 patent" show the human ear, and a device which is designed to retain itself in the ear --
- Fig. 1 from U.S. Patent No. 8,311,253 BOSE, Framingham, MA
- Fig. 2 from U.S. Patent No. 8,311,253
Bose is seeking to have the USITC issue cease and desist orders against the importation and sale of allegedly infringing products by "Monster" et al.
A USITC administrative law judges will schedule and hold an evidentiary hearing and make the initial determination as to whether there is a violation of section 337. If so, the investigation will continue for up to 45 more days before a final determination is made.
###
(Sources: U.S. International Trade Commission, U.S. Patent & Trademark Office)


